Компания Tesla запатентовала лазерные «дворники»
Компания Tesla получила патент на лазерные стеклоочистители, передает «Твоя МАШИНА».

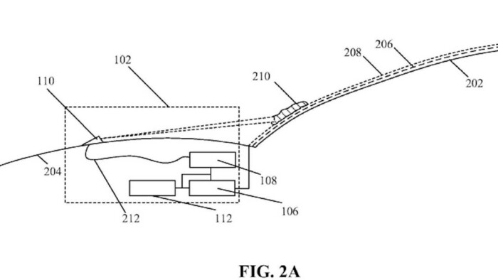
Лазерные лучи будут выявлять мусор на поверхности стекла и выжигать его. Возможно, в зону действия может попадать не только лобовое стекло, но и остальные. Компания разрабатывала эту технологию в течение двух лет.
Лучи будут выжигать мусор, но не смогут проникать сквозь стекло. Выдача патента была одобрена в начале недели.

Официально технология называется «Импульсная лазерная очистка мусора, накопленного на стеклянных изделиях в транспортных средствах». Также производитель планирует применять эту технологию и в других сферах, например, для очистки солнечных панелей от мусора. Также Tesla занимается разработкой еще одного вида стеклоочистителей. Электромагнитные стеклоочистители могут появиться на модели Cybertruck.
Обсудить эту тему в Facebook